
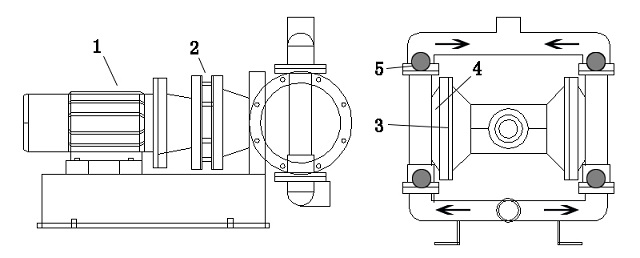
電動隔膜泵屬于容積泵,其原理和氣動隔膜泵工作原理基本一樣,但是電動隔膜泵原理的區別在于動力轉換不同。電動隔膜泵原理請參考下圖:電機(1)通過減速機(2)主軸帶動偏心輪和大軸承做偏心旋轉,泵體骨架連桿軸通過偏心輪和大軸承的驅動做往復動作。連桿軸左右兩端上的隔膜片(3)跟隨做左右往復運動。在左右兩個泵腔(4)里各裝有上下2套單項球閥(5),隔膜片的左右運動使泵腔內的容積產生有規律的改變。迫使四個單項球閥交替的開啟和關閉,從而將液體吸入和排出產生流體;這就是電動隔膜泵工作原理。KYD電動隔膜泵工作原理與常規DBY電動隔膜泵不同的是采用骨架連桿軸作為往復軸;動力輸出軸為整根長軸;長軸采用雙軸承運行;偏心輪為單獨運行設計;保證了電動隔膜泵的動力穩定和高轉速安全運行。

電動隔膜泵和氣動隔膜泵工作原理的區別在于其動力源不同,電動隔膜泵動力由電機給予,所以相比之下運行更加穩定。即使加裝無極調速或者變頻調速,電動隔膜泵工作原理的往復沖程切換也是隨著偏心輪的勻速轉動自然切換;這一點是氣動隔膜泵所不能達到的。
KYD型電動隔膜泵工作原理采用雙軸承和整軸運行的設計;一方面保證了整機工作的平衡,也解決了傳統電動隔膜泵偏心輪(短軸加工而成的偽偏心輪)易斷的問題。整軸運行即從電機輸出的動力由減速機的一根整體長軸,通過偏心輪和軸承驅動泵體;雙軸承即減速機的一根長軸有兩個軸承保證整機的平穩。
相關新聞